Fakulta elektrotechnická získala nový patent

Univerzita Úspěchy Věda a výzkum

Inovativní řešení má hlavní využití u točivých elektrických strojů, ať už se jedná o velké generátory v elektrárnách nebo o menší motory v důležitých provozech.

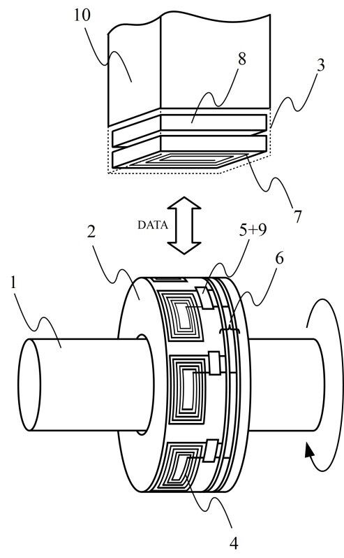
Vědci z Fakulty elektrotechnické Západočeské univerzity v Plzni získali patent v oblasti bezkontaktního přenosu elektrické energie. Inovativní řešení má hlavní využití u točivých elektrických strojů, kde bezkontaktně napájí senzory pro měření elektrických i neelektrických veličin přímo v rotoru. Získaná data se přenášejí pomocí obousměrného komunikačního kanálu integrovaného přímo do nabíjecího signálu, který může též sloužit pro řízení a povelování elektroniky umístěné v rotoru stroje. 

Systém lze využít nejen například pro monitorování stavu velkých generátorů v elektrárnách, ale i menších motorů v důležitých provozech, nebo k přenosu dat ze senzorů umístěných v nepřístupném prostředí vřetene obráběcího stroje. Využívá rezonanční elektromagnetické vazby a umí pracovat s jednou nebo více vysílacími anténami a několika přijímacími anténami. Systém dokáže zajistit stabilní napájení nejen při plných otáčkách zařízení, ale i v klidu a libovolném úhlu natočení rotoru ,a to na poměrně velikou vzdálenost až v řádu desítek centimetrů.

Na uvedeném patentu spolupracovali výzkumníci FEL / RICE Tomáš Kavalír, Vladimír Kindl, Pavel Turjanica a Lukáš Pušman. Zařízení vzniklo v přímé souvislosti s řešením projektu TG02010011 „Podpora komerčních příležitostí ZČU“.

Galerie


Fakulta elektrotechnická

Iveta Pangrácová

18. 09. 2020